Científicos crean una patente que reduce el impacto de los terremotos: Así va la investigación
Este experimento promete mejorar los sistemas contra los terremotos y mejorar la infraestructura de las construcciones el mundo. Conozca sobre este invento aquí.

Imágenes ilustrativas de un terremoto e ingenieros civiles analizando la estructura (Crédito: Getty Images)

La ciencia continúa desarrollando nuevos dispositivos y patentes para mejorar la infraestructura de las ciudades y construcciones susceptibles a movimientos geológicos.
Respecto a esto, los terremotos han sido uno de los temas de principal preocupación, en especial para ciudades situadas en el Cinturón de Fuego del Pacífico, como lo son China, Japón, Estados Unidos, Chile, entre otros.
Bajo este contexto, el profesor de Ingeniería Civil, Moussa Leblouba, de la Universidad de Sharjah, en Emiratos Árabes Unidos, ha inventado una patente que promete reducir los daños causados por sismos y vibraciones sin depender de energía eléctrica ni de componentes complejos, además de reducir los costos de estos sistemas.
Este invento ya se encuentra registrado en la Oficina de Patentes y Marcas de Estados Unidos (USPTO) desde diciembre de 2025, por lo que se seguirá experimentando para próximamente salir al mercado.
Le puede interesar: Este es el pueblo en el que tiembla todos los días en Colombia: Queda a 3 horas de Bucaramanga
¿Cómo funciona esta patente de reducción de daños por temblores o sismos?
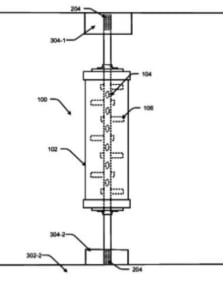
El dispositivo consiste de un cilindro hueco que tiene una barra central que extiende pequeños palos metálicos, casi como un árbol adentro. Luego, es rellenado con bolas de acero.

Así se ve la patente del cilindro anti-sísmico (Crédito: Universidad de Sharjah)

Así se ve la patente del cilindro anti-sísmico (Crédito: Universidad de Sharjah)
El sentido de esta composición es que cuando empieza a vibrar, el eje se desplaza y las varillas se mueven entre las esferas de acero, absorbiendo y logrando la disipación de la energía cinética que pueden tener terremotos, sismos o incluso sacudidas causadas por una persona.
Los experimentos, en los cuales se movió el dispositivo hacia adelante y hacia atrás en ciclos cortos de 1, 3 y 5 milímetros para simular vibraciones, dictan que este sistema puede disipar el 14% de la energía de las vibraciones.
Le puede interesar: Se comprobó la teoría de la relatividad de Einstein por esto: 5 curiosidades de los eclipses
Esta capacidad ayuda a proteger mejor la estructura o el equipo donde se instala el dispositivo. Además, al ser este un dispositivo basado meramente en la fricción, no necesita energía eléctrica.
“Nuestro dispositivo no necesita energía eléctrica; funciona mediante física pura, a través de la fricción, es pasivo”, señaló el profesor Moussa Leblouba mediante un comunicado de la institución académica donde lideró el proyecto.
¿Qué ventajas tiene la patente de Leblouba frente a otros sistemas anti-terremotos tradicionales?

Sismo en Perú. Foto: Getty Images.

Sismo en Perú. Foto: Getty Images.
Este invento anti-sísmico tiene ventajas tanto económicas como técnicas, ya que es un cilindro que puede adherirse a las estructuras sin necesidad de conocimientos avanzados para su instalación, además de no requerir otros sistemas que pueden afectarse durante los temblores.
Consulte: Información de seguridad sobre sismo: Qué hacer en caso de temblor en Colombia, alerta celular y más
También le apunta a la durabilidad, pues a diferencia de los amortiguadores tradicionales (ya sean de fluido o de metal deformable), puede ser fácilmente diseñado, reemplazado y durar más.
Todos los componentes son removibles y reemplazables de forma individual, lo que reduce los costos de mantenimiento y evita la necesidad de sustituir el conjunto completo en caso de avería.
¿Este dispositivo funciona para construcciones grandes?
De momento, el invento aún sigue en proceso de experimentación para escalas gigantes.
“La siguiente fase de la investigación se centrará en escalar el dispositivo para aplicaciones estructurales de mayor tamaño y probarlo bajo condiciones realistas de carga sísmica, incluidas pruebas en mesa vibratoria con modelos estructurales a pequeña escala”, enfatizó el profesor Leblouba.
Así entonces, habrá que estar al tanto de las novedades de este artículo que puede revolucionar la forma en que son planteados los sistemas anti-sísmicos.
También puede consultar: NASA volvió a aplazar Artemis II: estos son los motivos de la decisión y la nueva fecha




